Agin games

中文 EN
返回
音叉式料位开关
音叉式料位开关
所属分类:料位测量产品
产品详情

音叉式料位开关的工作原理是通过安装在音叉基座上的一对压电晶体使音叉在一定共振频率下振动。当音叉与被检测介质相接触时,音叉的振幅和频率将发生突变,智能电路对此进行检测并将这种变化转换为一个开关信号。


选型表

音叉式料位开关

注:

①微型只有DC24V供电,其余型号有DC24V和AC220V两种供电方式可选。

②材质:标配SUS304。

③连接方式:标配1.5寸PT螺纹。

④微型音叉:只有1寸G螺纹。


音叉式料位开关


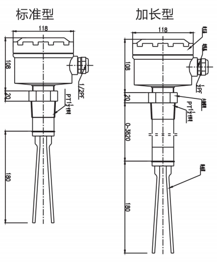
外形尺寸(单位:mm)

音叉式料位开关


特点

  • 全不锈钢型

  • 防护等级高达IP68

  • 抗噪声干扰能力强

  • 与介质的导电率、介电常数、压力及温度无关

  • 不受仓内介质更换、压力、扬尘、泡沫、粘度等因素的影响

  • 应用范围广(密度>0.2g/cm³和粘度<10000mm²/s)



填写信息获取相关资料

img

关注公众号

img

关注视频号

期待您的致电

售后服务:0756-8150114

销售专线:400-7808-806

期待您的来信

HR邮箱:hr@lesafilm.com

邮箱:sales@lesafilm.com